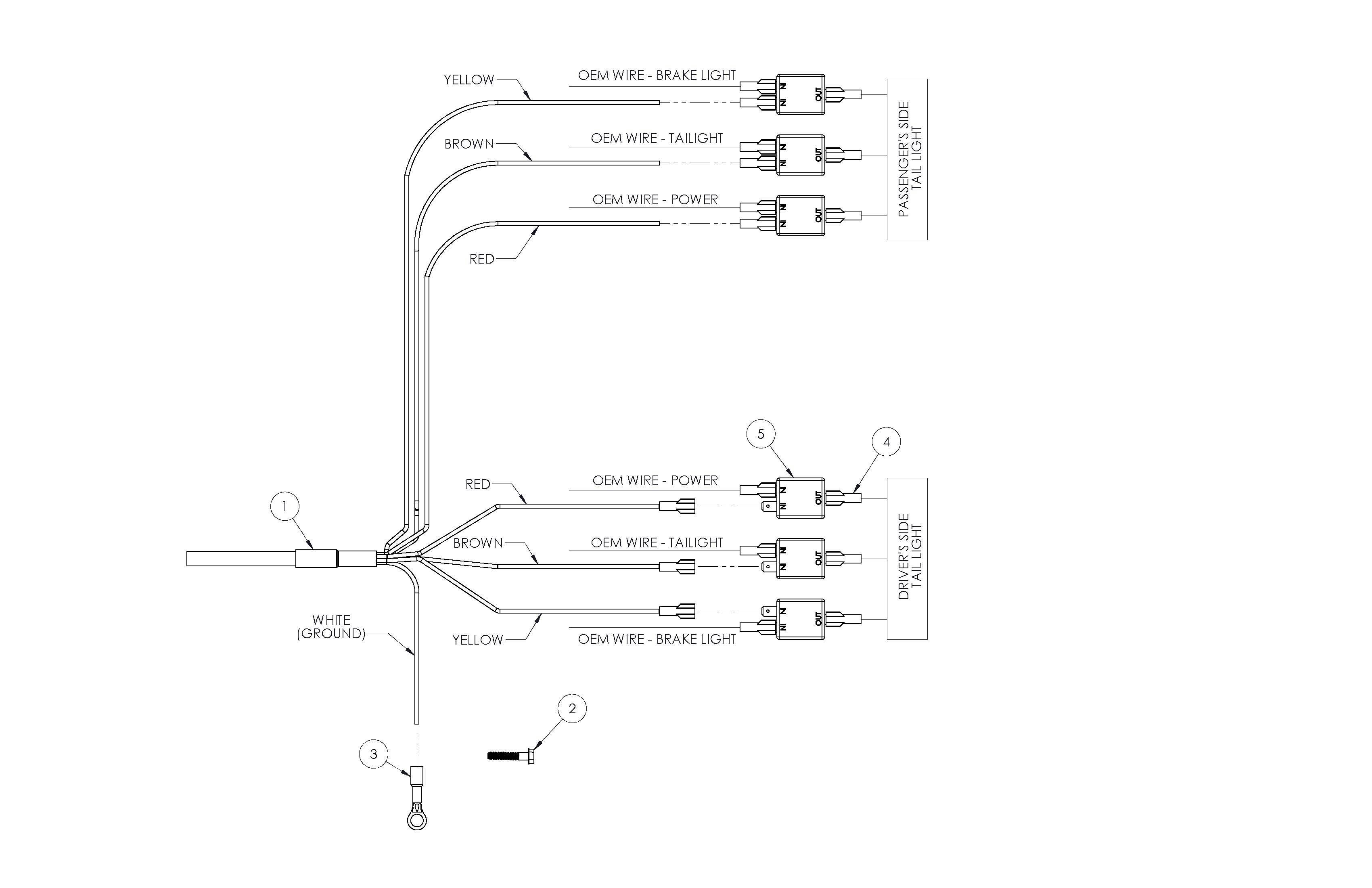
Introducing the BX88442 Progressive Lit Vehicle Tail Light Wiring Kit, Coach Powered. This kit works with vehicles that have animated/progressive taillights where battery disconnect is required for flat towing.
- Includes 26' Long 6-Wire Harness with 6 Diodes
Information:
Blue Ox recommends installation of this kit by a trained professional. Do not install, operate or use this equipment until the Installation Instructions have been read and understood.| Attributes | |
| California Proposition 65 | WARNING: Cancer and Reproductive Harm - www.P65Warnings.ca.gov |
| Country of Origin (Primary) | US |
| Harmonized Tariff Code (Schedule B) | 8512204000 |
| Hazardous Material Code | N |
| Installation Required Yes/No | Yes |
| Life Cycle Status Code | Available to Order |
| Magnetic | No |
| Mounting Hardware Included Yes/No | Yes |
| NAFTA Preference Criterion Code | B |
| Number of Diodes | 6 |
| SDR Required Flag | N |
| Warranty Time | 12 |
| Wiring Harness Included | Yes |
| GTIN | 00798459097152 |

















